北京第二批集中供地:17宗地块将于5月下旬竞拍
扫描到手机,新闻随时看
扫一扫,用手机看文章
更加方便分享给朋友
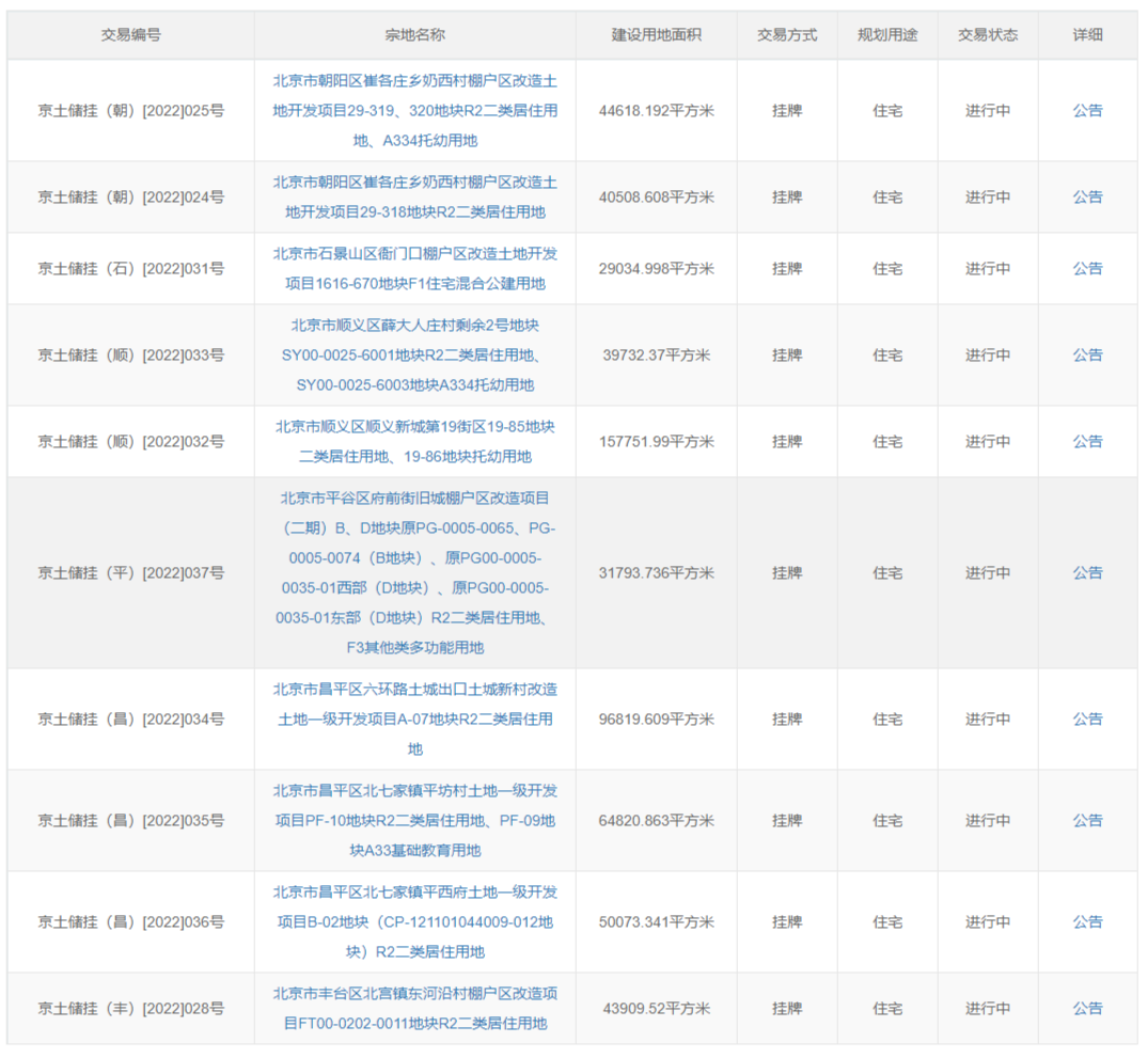
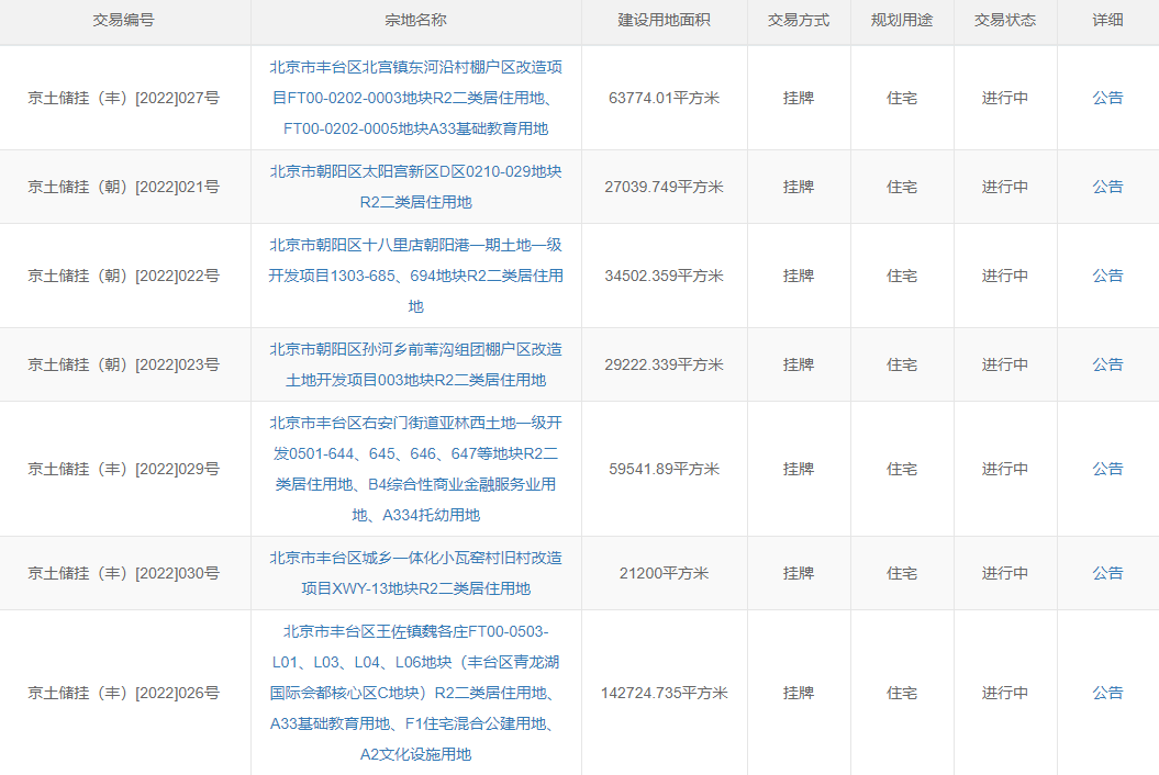
4月19日,北京市规划和自然资源委员会发布2022年度第二批次商品住宅用地出让公告。本批次供应17宗地块,总起始价559.7亿元,土地总面积约98公顷,总建筑规模约175万平方米,将于5月下旬竞拍,挂牌竞价截止时间为5月24日。
17宗地块分布于朝阳区、丰台区、石景山区、昌平区、顺义区、平谷区等地,其中,主城区有11宗,占比超过六成。
公告显示,北京第二批次地块继续延续此前竞拍规则,在明确土地合理上限价格和房屋销售指导价的基础上,结合宗地所在区域市场需求情况,采取到达地价上限后竞现房销售面积、竞政府持有商品住宅产权份额、投报高标准商品住宅建设方案、定高标准住宅建设基础上摇号等竞拍方式。
值得一提的是,此次北京在土地上限价格报价单位的确定方式上进行了优化调整,由原来的在现场按最后一轮同样价格条件下,通过举牌时序先后的方式确定改为摇号方式确定,更加体现了市场交易规则的公开、公平、公正。
此外,北京在第二批次商品住宅用地出让中提出了建设“全龄友好社区”的要求,选取昌平区平西府、顺义区福环和顺义区薛大人庄3宗用地进行试点,在出让文件中明确竞得人须建设全龄友好社区,并从配套设施、室内空间、交通流线设计、公共空间、智慧应用与安全保障、服务等方面提出以适老性为主的建设要求。出让文件还明确项目在取得建设工程规划许可证前,将由市规划自然资源委会同市住房城乡建设委、市民政局、市卫生健康委等专业部门组织对规划设计方案开展全龄友好社区评审,对于通过评审符合全龄友好社区要求的,将按照北京市有关政策给予支持。


图源:北京市规划和自然资源委员会
来源:环球网
声明:本文由入驻焦点开放平台的作者撰写,除焦点官方账号外,观点仅代表作者本人,不代表焦点立场。


